Repara y dale más vida a tu electrodoméstico… y al planeta
Inicio>Cocinas Samsung>NZ63R3727AK

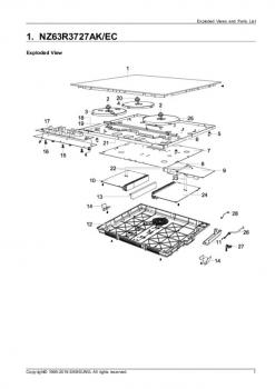
Despiecesv^

Los despieces son esquemas o ilustraciones de electrodomésticos en los que se pueden identificar y ubicar todas las piezas y componentes de forma sencilla.
¿Desea recibir el despiece?

Filtrosv^

Localizar componentes para este electrodoméstico:
Número de posición del despiece
Aún no hemos catalogado las posiciones de los repuestos de este aparato

Cocinas SAMSUNG NZ63R3727AK

Variantes del cocinas: NZ63R3727AK/EC

Listado de repuestos

Los componentes para este aparato aún no han sido categorizados.

Por favor, complete el formulario de contacto especificando la pieza que está buscando. Nos comunicaremos con usted lo más pronto posible para proporcionarle la información necesaria.

Acceda al formulario de contacto haciendo clic aquí.

Variantes del cocinas: NZ63R3727AKEC